乐动网站

乐动网站-乐动(中国)一站式服务官方网站 乐动网站-乐动(中国)一站式服务官方网站 政策法规 产业市场 节能技术 能源信息 宏观环境 会议会展 活动图库 资料下载 焦点专题 智囊团 企业库
节能技术  中国节能产业网 >> 节能技术 >> 节能案例 >> 正文
氯化氢合成余热利用技术
来源:中国节能产业网 时间:2015-5-25 16:50:24 用手机浏览

一、技术名称:氯化氢合成余热利用技术

二、技术所属领域及适用范围:现有或新建氯碱企业的氯化氢或盐酸合成炉新建或改造

三、与该技术相关的能耗及碳排放现状

对于氯化氢合成中的热能利用,国内主要有两种方法:一种是使用钢制水夹套氯化氢合成炉副产热水。这种钢合成炉在炉顶部和底部容易受腐蚀,使用寿命短,副产的热水应用范围有限;另一种是使用石墨制的氯化氢合成炉副产热水或0.2-0.3MPa压力的蒸汽。由于石墨是非金属脆性材料,受强度和使用温度的限制,在副产蒸汽时石墨炉筒作为产汽的受压部件,安全上存在一定隐患,采用该方法副产的热水或低压蒸汽热能利用只能达到40%,应用范围同样有限。目前该技术可实现节能量2万tce/a,CO2减排约5万t/a。

四、技术内容

1.技术原理

氯气与氢气反应生成氯化氢时伴随释放出大量反应热,完全可以用来副产蒸汽。副产中压蒸汽合成炉在高温区段,使用钢制水冷壁炉筒;在合成段顶部和底部钢材容易受腐蚀的区段,采用石墨材料制作。采用这种方法既克服了石墨炉筒强度低和使用温度受限制的缺点,又克服了合成段的顶部和底部容易腐蚀的缺点,从而使氯化氢合成的热能利用率提高到70%,副产蒸汽压力可在0.2-1.4MPa间任意调节,可并入中、低压蒸汽网使用,使热能得到充分利用。

2.关键技术

自循环换热蒸汽发生技术;腐蚀控制技术;生产运行自动控制技术。

3.工艺流程

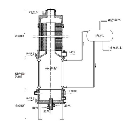
具体工艺流程见图1、图2。

图1  氯化氢合成余热利用技术图

图2 氯化氢合成余热利用技术设备图

五、主要技术指标

每合成生产1t氯化氢可副产0.8-1.4MPa中压蒸汽0.7t。

六、技术鉴定、获奖情况及应用现状

该技术已在部分化工行业推广应用,使氯化氢合成的热能利用率提高到70%,节能效果显著。

七、典型应用案例

典型用户:浙江巨化股份有限公司电化厂、江苏大和氯碱化工有限公司、重庆三阳化工有限公司

典型案例1:浙江巨化股份有限公司电化厂:

建设规模:08-140-84型副产蒸汽氯化氢合成炉一套,日产氯化氢140t,副产1.2MPa蒸汽84t。主要技改内容:拆除原水套式石墨氯化氢合成炉,利用原厂房框架新上一套副产蒸汽氯化氢合成炉。主要设备包括副产蒸汽氯化氢合成炉、汽包、预热器和排污罐。节能技改投资额400万元,建设期2个月。每年可节能3780tce,年节能经济效益448万元,投资回收期1年。

典型案例2:江苏大和氯碱化工有限公司:

建设规模:09-150-30型副产蒸汽盐酸合成炉一套,日产高纯盐酸150t,副产1.2MPa蒸汽30t。主要技改内容:拆除原水套式石墨氯化氢合成炉、石墨降膜吸收器、尾气塔,利用原厂房框架新上一套副产蒸汽四合一盐酸合成炉,主要设备包括副产蒸汽四合一盐酸合成炉、汽包、预热器和排污罐。节能技改投资额200万元,建设期2个月,年节能1350tce,取得节能经济效益160万元,投资回收期16个月。

八、推广前景及节能减排潜力

该项技术具有很好的经济效益和社会效益,目前,全行业氯化氢合成炉生产氯化氢的产能约600万t。预计未来5年,该技术在行业内的推广潜力可达到20%,投资总额5亿元,节能能力35万tce/a,减排能力81万tCO2/a。


分享到:
乐动网站相关的文章 iTAG:
没有相关技术
频道推荐
服务中心
微信公众号

CESI
关于本站
版权声明
广告投放
网站帮助
联系我们
网站服务
会员服务
最新项目
资金服务
园区招商
展会合作
中国乐动网站-乐动(中国)一站式服务官方网站 上线下相结合的一站式节能服务平台。
©2007-2016 princejardinier.com
鄂ICP备16002099号
节能QQ群:39847109
顶部微信二维码底部
扫描二维码关注官方公众微信