乐动网站

乐动网站-乐动(中国)一站式服务官方网站 乐动网站-乐动(中国)一站式服务官方网站 政策法规 产业市场 节能技术 能源信息 宏观环境 会议会展 活动图库 资料下载 焦点专题 智囊团 企业库
节能技术  中国节能产业网 >> 节能技术 >> 节能案例 >> 正文
铝酸钠溶液微扰动平推流晶种分解节能技术
来源:中国节能产业网 时间:2015-5-25 15:30:25 用手机浏览

一、技术名称:铝酸钠溶液微扰动平推流晶种分解节能技术

二、技术所属领域及适用范围:有色金属行业 氧化铝冶炼

三、与该技术相关的能耗及碳排放现状

拜耳法生产氧化铝过程中,晶种分解是决定氧化铝质量和能耗的关键环节之一。目前全世界范围内的氧化铝厂采用的技术主要包括:(1)喷射压缩空气整体翻料式氧化铝晶种分解工艺技术及其种分槽,每台种分槽需喷射压力为500kPa的压缩空气量约200m3/h;(2)平底机械搅拌全混流氧化铝晶种分解工艺技术及其种分槽,每台种分槽配置功率75kW电机一台,直接消耗电能65.7万kWh/a。我国现有各类氧化铝种分槽约1300余台,均属于高能耗装备。目前该技术可实现节能量2万tce/a,CO2减排约5万t/a。

四、技术内容

1.技术原理

采用基于过程特征的方法,通过研究过饱和铝酸钠溶液晶种分解反应的动力学过程和铝酸钠溶液浆料固-液两相流的流动与传输特性,根据铝酸钠溶液结晶反应动力学进程的需要,结合流体特性,合理分配机械能,采用微扰动与平推流结合方式,合理使用搅拌,消除多余搅拌无效能耗,实现氧化铝生产种分过程的大幅降耗。

2.关键技术

(1)针对目前不同类型的种分槽实现微扰动与平推流结合的设计技术;

(2)种分槽内利于浆料流动反应的特殊空间结构;

(3)N台种分槽实现串联生产的组合匹配。

3.工艺流程

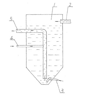
该技术的工艺流程和装置结构见图1、图2。

图1 酸钠溶液微扰动平推流晶种分解技术流程图

1分解反应槽; 2 进料槽; 3 扰动风管; 4 提料风管; 5 出料管

图2   锥形底微扰动平推流氢氧化铝晶体结晶反应装置结构简图

五、主要技术指标

1.主要技术参数:

(1)种分槽容积(m3):1329-4500;

(2)单槽日处理能力(m3):7000以上;

(3)压缩空气耗量(m3/h):25-30;

(4)承受最低风压(kPa):460;

(5)分解率(%):47-55。

2.适用外部条件参数:

(1)使用环境温度(℃):-30-60;

(2)抗风压波动(kg):±1.5;

(3)最长允许停风时间(h):0.5。

六、技术鉴定、获奖情况及应用现状

2011年5月”铝酸钠溶液微扰动平推流晶种分解技术及其装备”通过了中国有色金属工业协会组织的科技成果鉴定。目前,该项技术已在中国铝业股份有限公司贵州分公司40万t喷射压缩空气整体翻料式晶种分解生产线进行了应用,压缩空气消耗量 同比减少92.78%。同时由φ14m×35m平底机械搅拌全混流种分槽组成的80万t氧化 铝生产线上也投入了使用,取得节约直接电耗40%的良好效果。

七、典型应用案例

典型用户:中国铝业股份有限公司贵州分公司、中国铝业股份有限公司河南分公司

典型案例1

建设规模:40万t/a氧化铝种分生产线节能技术改造。主要技改内容:喷射压缩 空气整体翻料式氧化铝晶种分解槽按照微扰动平推流技术设计、制作、安装,主要设备为晶种分解槽。节能技改投资额500万元,建设期3个月。每年可节能7704tce,年节能经济效益为916万元,投资回收期约6个月。

典型案例2

建设规模:100万t/a氧化铝种分生产线节能技术改造。主要技改内容:喷射压缩空气整体翻料式氧化铝晶种分解槽按照微扰动平推流技术设计、制作、安装;主要设备为晶种分解槽。节能技改投资额1000万元,建设期6个月。每年可节能2万tce,年经济效益为1909万元,投资回收期约6个月。

八、推广前景及节能减排潜力

预计未来5年,该技术在行业内的推广潜力可达到30%,预计投资总额7千5百万元,年节能能力10万tce/a,二氧化碳减排能力26万tCO2/a。



分享到:
乐动网站相关的文章 iTAG:
没有相关技术
频道推荐
服务中心
微信公众号

CESI
关于本站
版权声明
广告投放
网站帮助
联系我们
网站服务
会员服务
最新项目
资金服务
园区招商
展会合作
中国乐动网站-乐动(中国)一站式服务官方网站 上线下相结合的一站式节能服务平台。
©2007-2016 princejardinier.com
鄂ICP备16002099号
节能QQ群:39847109
顶部微信二维码底部
扫描二维码关注官方公众微信